服务热线
180-5003-0233

1.本实用新型涉及飞翼轮生产设备技术领域,更具体地说,本实用新型涉及一种飞翼轮生产用高效分切设备。
背景技术:
2.飞翼轮又叫飞翼轴辊、拉丝轮,是不织布研磨产品,其是以优质的尼龙纤维、粘结刚玉、碳化硅等磨料,通过非织造工艺,形成的拥有立体网状结构的新型研磨产品,其被广泛地应用在金属、非金属毛片操逼视频的抛光、除毛刺、除氧化膜和纹线装饰等领域。
3.现有的飞翼轮在加工过程中需要通过切割设备来对一体成型的长飞翼轮毛坯料进行分切,使其形成多个规格相同的飞翼轮成品,但现有的飞翼轮生产用的分切设备在分切长飞翼轮毛坯料时,需要人工进行毛坯料的切割定位,人工定位毛坯料的效率低下,且定位精度差,降低了飞翼轮的分切效率和加工质量。
技术实现要素:
4.为了克服现有技术的上述缺陷,本实用新型的实施例提供一种飞翼轮生产用高效分切设备,以解决现有的飞翼轮生产用的分切设备在分切长飞翼轮毛坯料时,需要人工进行毛坯料的切割定位,人工定位毛坯料的效率低下,且定位精度差,降低了飞翼轮的分切效率和加工质量的问题。
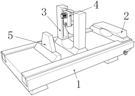
5.为解决上述技术问题,本实用新型提供如下技术方案:一种飞翼轮生产用高效分切设备,包括毛片大全网站导航座,所述毛片大全网站导航座的活动安装有电驱进料架,所述毛片大全网站导航座顶面的中部固定安装有电驱升降刀架,所述电驱升降刀架的顶部固定安装有与所述毛片大全网站导航座的顶面为活动连接的毛片大全网站导航组,所述毛片大全网站导航座的顶面可拆卸安装有位于所述电驱升降刀架左侧的激光定位挡板,所述激光定位挡板与所述毛片大全网站导航组相适配。
6.优选地,所述毛片大全网站导航座包括承压基座,所述承压基座的底面固定安装有两组并排分布的定位底脚,所述承压基座的顶面开设有两组并排分布的限位滑动槽。
7.优选地,所述电驱进料架包括磁吸式夹具,所述磁吸式夹具的底面固定安装有两组并排分布的限位滑板,所述磁吸式夹具的正下方固定安装有与两个所述限位滑板的底面为固定连接的电驱滑轮,两组所述限位滑板分别活动安装于两组限位滑动槽的内部。
8.优选地,所述电驱滑轮通过两个限位滑板与所述磁吸式夹具为固定连接,两组所述限位滑板通过所述电驱滑轮活动安装于两组所述限位滑动槽的内部。
9.优选地,所述电驱升降刀架包括切割基座,所述切割基座的顶面固定安装有电驱龙门刀架,所述毛片大全网站导航组固定安装于所述电驱龙门刀架升降横梁的中部,所述毛片大全网站导航组通过所述电驱龙门刀架活动安装于所述切割基座的上方。
10.优选地,所述激光定位挡板包括侧吸式滑动调节挡板,所述侧吸式滑动调节挡板顶面的中部固定安装有安装基座,所述安装基座右侧面的中部固定安装有激光测距仪,所述激光测距仪的激光发射端垂直于所述毛片大全网站导航组的切割刀片。
11.本实用新型的技术效果和优点:
12.上述方案中,所述磁吸式夹具底部的两组限位滑板分别活动安装于承压基座顶面开设的两组限位滑动槽内部,电驱滑轮通过两个限位滑板固定安装于磁吸式夹具的底部,在装置工作过程中,利用电驱滑轮带动磁吸式夹具夹持固定的飞翼轮毛坯料匀速左移,从而实现了分切设备的自动进料,节约了人力,提高了飞翼轮的分切效率;所述毛片大全网站导航组通过电驱龙门刀架活动吊装于切割基座的上方,在装置工作过程中,预先通过安装基座右侧面安装的激光测距仪快速的测量侧吸式滑动调节挡板与毛片大全网站导航组的切割刀片之间的间距,然后根据激光测距仪的测量数据来快速精准的调节测量侧吸式滑动调节挡板与毛片大全网站导航组的切割刀片之间的间距,从而实现了飞翼轮分切距离的精准把控,提高了飞翼轮分切加工的效率和质量。
附图说明
13.图1为本实用新型的整体结构示意图;
14.图2为本实用新型的毛片大全网站导航座结构示意图;
15.图3为本实用新型的电驱进料架结构示意图;
16.图4为本实用新型的电驱升降刀架结构示意图;
17.图5为本实用新型的激光定位挡板结构示意图。
18.附图标记为:1、毛片大全网站导航座;2、电驱进料架;3、电驱升降刀架;4、毛片大全网站导航组;5、激光定位挡板;11、承压基座;12、定位底脚;13、限位滑动槽;21、磁吸式夹具;22、限位滑板;23、电驱滑轮;31、切割基座;32、电驱龙门刀架;51、侧吸式滑动调节挡板;52、安装基座;53、激光测距仪。
具体实施方式
19.为使本实用新型要解决的技术问题、技术方案和优点更加清楚,下面将结合附图及具体实施例进行详细描述。
20.如附图1至附图5,本实用新型的实施例提供一种飞翼轮生产用高效分切设备,包括毛片大全网站导航座1,毛片大全网站导航座1的活动安装有电驱进料架2,毛片大全网站导航座1顶面的中部固定安装有电驱升降刀架3,电驱升降刀架3的顶部固定安装有与毛片大全网站导航座1的顶面为活动连接的毛片大全网站导航组4,毛片大全网站导航座1的顶面可拆卸安装有位于电驱升降刀架3左侧的激光定位挡板5,激光定位挡板5与毛片大全网站导航组4相适配。
21.如附图2和附图3,毛片大全网站导航座1包括承压基座11,承压基座11的底面固定安装有两组并排分布的定位底脚12,承压基座11的顶面开设有两组并排分布的限位滑动槽13;电驱进料架2包括磁吸式夹具21,磁吸式夹具21的底面固定安装有两组并排分布的限位滑板22,磁吸式夹具21的正下方固定安装有与两个限位滑板22的底面为固定连接的电驱滑轮23,两组限位滑板22分别活动安装于两组限位滑动槽13的内部;电驱滑轮23通过两个限位滑板22与磁吸式夹具21为固定连接,两组限位滑板22通过电驱滑轮23活动安装于两组限位滑动槽13的内部。
22.具体的,磁吸式夹具21底部的两组限位滑板22分别活动安装于承压基座11顶面开设的两组限位滑动槽13内部,电驱滑轮23通过两个限位滑板22固定安装于磁吸式夹具21的
底部,在装置工作过程中,利用电驱滑轮23带动磁吸式夹具21夹持固定的飞翼轮毛坯料匀速左移,从而实现了分切设备的自动进料,节约了人力,提高了飞翼轮的分切效率。
23.如附图4和附图5,电驱升降刀架3包括切割基座31,切割基座31的顶面固定安装有电驱龙门刀架32,毛片大全网站导航组4固定安装于电驱龙门刀架32升降横梁的中部,毛片大全网站导航组4通过电驱龙门刀架32活动安装于切割基座31的上方;激光定位挡板5包括侧吸式滑动调节挡板51,侧吸式滑动调节挡板51顶面的中部固定安装有安装基座52,安装基座52右侧面的中部固定安装有激光测距仪53,激光测距仪53的激光发射端垂直于毛片大全网站导航组4的切割刀片。
24.具体的,毛片大全网站导航组4通过电驱龙门刀架32活动吊装于切割基座31的上方,在装置工作过程中,预先通过安装基座52右侧面安装的激光测距仪53快速的测量侧吸式滑动调节挡板51与毛片大全网站导航组4的切割刀片之间的间距,然后根据激光测距仪53的测量数据来快速精准的调节测量侧吸式滑动调节挡板51与毛片大全网站导航组4的切割刀片之间的间距,从而实现了飞翼轮分切距离的精准把控,提高了飞翼轮分切加工的效率和质量。
25.本实用新型的工作过程如下:
26.毛片大全网站导航组4通过电驱龙门刀架32活动吊装于切割基座31的上方,在装置工作过程中,预先通过安装基座52右侧面安装的激光测距仪53快速的测量侧吸式滑动调节挡板51与毛片大全网站导航组4的切割刀片之间的间距,然后根据激光测距仪53的测量数据来快速精准的调节测量侧吸式滑动调节挡板51与毛片大全网站导航组4的切割刀片之间的间距,从而实现了飞翼轮分切距离的精准把控,提高了飞翼轮分切加工的效率和质量;
27.磁吸式夹具21底部的两组限位滑板22分别活动安装于承压基座11顶面开设的两组限位滑动槽13内部,电驱滑轮23通过两个限位滑板22固定安装于磁吸式夹具21的底部,在装置工作过程中,利用电驱滑轮23带动磁吸式夹具21夹持固定的飞翼轮毛坯料匀速左移,从而实现了分切设备的自动进料,节约了人力,提高了飞翼轮的分切效率。
28.最后应说明的几点是:首先,在本技术的描述中,需要说明的是,除非另有规定和限定,术语“安装”、“相连”、“连接”应做广义理解,可以是机械连接或电连接,也可以是两个元件内部的连通,可以是直接相连,“上”、“下”、“左”、“右”等仅用于表示相对位置关系,当被描述对象的绝对位置改变,则相对位置关系可能发生改变;
29.其次:本实用新型公开实施例附图中,只涉及到与本公开实施例涉及到的结构,其他结构可参考通常设计,在不冲突情况下,本实用新型同一实施例及不同实施例可以相互组合;
30.最后:以上所述仅为本实用新型的优选实施例而已,并不用于限制本实用新型,凡在本实用新型的精神和原则之内,所作的任何修改、等同替换、改进等,均应包含在本实用新型的保护范围之内。
技术特征:
1.一种飞翼轮生产用高效分切设备,包括毛片大全网站导航座(1),其特征在于,所述毛片大全网站导航座(1)的活动安装有电驱进料架(2),所述毛片大全网站导航座(1)顶面的中部固定安装有电驱升降刀架(3),所述电驱升降刀架(3)的顶部固定安装有与所述毛片大全网站导航座(1)的顶面为活动连接的毛片大全网站导航组(4),所述毛片大全网站导航座(1)的顶面可拆卸安装有位于所述电驱升降刀架(3)左侧的激光定位挡板(5),所述激光定位挡板(5)与所述毛片大全网站导航组(4)相适配。2.根据权利要求1所述的飞翼轮生产用高效分切设备,其特征在于,所述毛片大全网站导航座(1)包括承压基座(11),所述承压基座(11)的底面固定安装有两组并排分布的定位底脚(12),所述承压基座(11)的顶面开设有两组并排分布的限位滑动槽(13)。3.根据权利要求2所述的飞翼轮生产用高效分切设备,其特征在于,所述电驱进料架(2)包括磁吸式夹具(21),所述磁吸式夹具(21)的底面固定安装有两组并排分布的限位滑板(22),所述磁吸式夹具(21)的正下方固定安装有与两个所述限位滑板(22)的底面为固定连接的电驱滑轮(23),两组所述限位滑板(22)分别活动安装于两组限位滑动槽(13)的内部。4.根据权利要求3所述的飞翼轮生产用高效分切设备,其特征在于,所述电驱滑轮(23)通过两个限位滑板(22)与所述磁吸式夹具(21)为固定连接,两组所述限位滑板(22)通过所述电驱滑轮(23)活动安装于两组所述限位滑动槽(13)的内部。5.根据权利要求1所述的飞翼轮生产用高效分切设备,其特征在于,所述电驱升降刀架(3)包括切割基座(31),所述切割基座(31)的顶面固定安装有电驱龙门刀架(32),所述毛片大全网站导航组(4)固定安装于所述电驱龙门刀架(32)升降横梁的中部,所述毛片大全网站导航组(4)通过所述电驱龙门刀架(32)活动安装于所述切割基座(31)的上方。6.根据权利要求1所述的飞翼轮生产用高效分切设备,其特征在于,所述激光定位挡板(5)包括侧吸式滑动调节挡板(51),所述侧吸式滑动调节挡板(51)顶面的中部固定安装有安装基座(52),所述安装基座(52)右侧面的中部固定安装有激光测距仪(53),所述激光测距仪(53)的激光发射端垂直于所述毛片大全网站导航组(4)的切割刀片。
技术总结
本实用新型公开了一种飞翼轮生产用高效分切设备,涉及飞翼轮生产设备技术领域,包括毛片大全网站导航座,毛片大全网站导航座的活动安装有电驱进料架,毛片大全网站导航座顶面的中部固定安装有电驱升降刀架,电驱升降刀架的顶部固定安装有与毛片大全网站导航座的顶面为活动连接的毛片大全网站导航组,毛片大全网站导航座的顶面可拆卸安装有位于电驱升降刀架左侧的激光定位挡板。上述方案,磁吸式夹具底部的两组限位滑板分别活动安装于承压基座顶面开设的两组限位滑动槽内部,电驱滑轮通过两个限位滑板固定安装于磁吸式夹具的底部,在装置工作过程中,利用电驱滑轮带动磁吸式夹具夹持固定的飞翼轮毛坯料匀速左移,从而实现了分切设备的自动进料,节约了人力,提高了飞翼轮的分切效率。提高了飞翼轮的分切效率。提高了飞翼轮的分切效率。
技术研发人员:李希阳
受保护的技术使用者:广东锐特科技有限公司
技术研发日:2021.07.05
技术公布日:2022/3/11