服务热线
180-5003-0233

本实用新型涉及一种薄膜毛片大全网站导航,具体是一种薄膜分切整齐度高的薄膜毛片大全网站导航。
背景技术:
薄膜毛片大全网站导航由放卷机构、切割机构、收卷机构、各功能辊以及张力控制纠偏控制和检测装置组成。其工作原理为:从放卷机构放出的金属化薄膜原料,经展平辊,张力检测辊,赋能辊,纠偏系统,进入切割机构,原毛片操逼视频经分切后,由收卷机构分别收卷成符合标准的膜卷,然而在切割时,刀头高速旋转与薄膜之间摩擦会产生很重的异味,工作人员长时间处在这种环境,会对身心健康造成很大的损害,为此,毛片直播APP导航提出了一种薄膜分切整齐度高的薄膜毛片大全网站导航。
技术实现要素:
1.要解决的问题
针对现有技术中存在的问题,本实用新型的目的在于提供一种薄膜分切整齐度高的薄膜毛片大全网站导航,来解决上述背景故事中提到的问题。
2.技术方案
为实现上述目的,本实用新型提供如下技术方案:
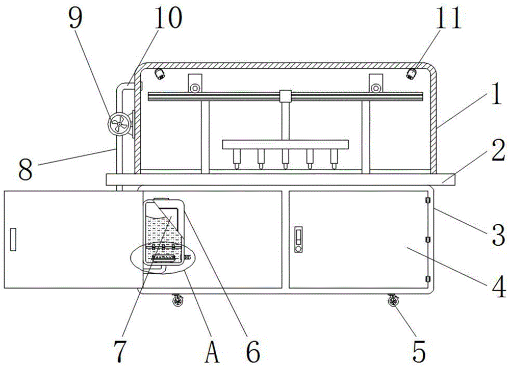
一种薄膜分切整齐度高的薄膜毛片大全网站导航,包括支撑柜,所述支撑柜的前端面通过合页转动连接有两个对称分布的翻转门,支撑柜的上表面固定连接有工作台,工作台的上表面固定连接有分切室,分切室的外侧壁固定连接有引风机,引风机的进气端固定连通有进气管,进气管与分切室内部相互连通,引风机的出气端固定连通有出气管,出气管贯穿支撑柜的侧壁且与吸收箱的内部底端相互连通,吸收箱固定连接在支撑柜的内侧壁上,且出气管的底端固定连通有爆气盘,爆气盘固定连接在吸收箱的下内壁上,且吸收箱的内壁固定连接有固定杆,固定杆的外侧转动连接有若干均匀分布的叶轮。
作为本实用新型进一步的方案:所述爆气盘与吸收箱的下内壁之间连接有若干均匀分布的橡胶垫,且爆气盘的上表面固定连接有匹配设置的过滤网。
作为本实用新型进一步的方案:所述支撑柜的下表面四角均固定连接有锁止万向轮。
作为本实用新型进一步的方案:所述吸收箱的前端面开设有观察口,观察口上密封且固定连接有匹配设置的观察窗。
作为本实用新型进一步的方案:所述分切室的上内壁上固定连接有两个对称分布的照明灯。
与现有技术相比,本实用新型的有益效果是:
1.本实用新型在引风机的驱动下,通过进气管将气体吸附,并通过出气管将气体通入吸收箱中,吸收箱中装有吸附液,从而对异味气体进行吸附净化,并且在爆气盘的作用下,气体被分散成小气泡排出,从而使得气体与吸附液接触的更加充分,提升了净化效果,且上升的气流会带动叶轮转动,转动的叶轮会搅碎气泡,进一步提升了气体与吸收液净化的效果。
2.本实用新型所述爆气盘与吸收箱的下内壁之间连接有若干均匀分布的橡胶垫,从而减少了爆气盘的晃动,提升了装置的稳定性,且爆气盘的上表面固定连接有匹配设置的过滤网,从而减少吸附液中的杂质落入爆气盘内,避免其堵塞,提升了装置稳定性。
附图说明
图1为一种薄膜分切整齐度高的薄膜毛片大全网站导航的结构示意图。
图2为图1中a区域放大的结构示意图。
图中:1、分切室;2、工作台;3、支撑柜;4、翻转门;5、锁止万向轮;6、吸收箱;7、观察窗;8、出气管;9、引风机;10、进气管;11、照明灯;12、固定杆;13、过滤网;14、叶轮;15、爆气盘;16、橡胶垫。
具体实施方式
下面将结合本实用新型实施例中的附图,对本实用新型实施例中的技术方案进行清楚、完整地描述,显然,所描述的实施例仅仅是本实用新型一部分实施例,而不是全部的实施例。基于本实用新型中的实施例,本领域普通技术人员在没有做出创造性劳动前提下所获得的所有其他实施例,都属于本实用新型保护的范围。
请参阅图1~2,本实用新型实施例中,一种薄膜分切整齐度高的薄膜毛片大全网站导航,包括支撑柜3,所述支撑柜3的前端面通过合页转动连接有两个对称分布的翻转门4,支撑柜3的上表面固定连接有工作台2,工作台2的上表面固定连接有分切室1,分切室1的外侧壁固定连接有引风机9,引风机9的进气端固定连通有进气管10,进气管10与分切室1内部相互连通,引风机9的出气端固定连通有出气管8,出气管8贯穿支撑柜3的侧壁且与吸收箱6的内部底端相互连通,吸收箱6固定连接在支撑柜3的内侧壁上,且出气管8的底端固定连通有爆气盘15,爆气盘15固定连接在吸收箱6的下内壁上,且吸收箱6的内壁固定连接有固定杆12,固定杆12的外侧转动连接有若干均匀分布的叶轮14。
当切割产生异味时,在引风机9的驱动下,通过进气管10将气体吸附,并通过出气管8将气体通入吸收箱6中,吸收箱6中装有吸附液,从而对异味气体进行吸附净化,并且在爆气盘15的作用下,气体被分散成小气泡排出,从而使得气体与吸附液接触的更加充分,提升了净化效果,且上升的气流会带动叶轮14转动,转动的叶轮14会搅碎气泡,进一步提升了气体与吸收液净化的效果。
所述爆气盘15与吸收箱6的下内壁之间连接有若干均匀分布的橡胶垫16,从而减少了爆气盘15的晃动,提升了装置的稳定性,且爆气盘15的上表面固定连接有匹配设置的过滤网13,从而减少吸附液中的杂质落入爆气盘15内,避免其堵塞,提升了装置稳定性。
所述支撑柜3的下表面四角均固定连接有锁止万向轮5,便于移动,便于搬运。
所述吸收箱6的前端面开设有观察口,观察口上密封且固定连接有匹配设置的观察窗7,从而可以方便更换吸收箱6内的吸附液。
所述分切室1的上内壁上固定连接有两个对称分布的照明灯11,起到了辅助照明的效果,减少了工作难度。
本实用新型中的用电元件的供电接口通过开关(图中未画出)和导线(图中未画出)连接供电系统,从而实现对其控制,其中涉及的电路以及控制均为现有技术,为当前领域技术公知,在此不进行过多赘述。
在本实用新型的描述中,需要说明的是,术语“中心”、“上”、“下”、“左”、“右”、“竖直”、“水平”、“前”、“后”等指示的方位或位置关系为基于附图所示的方位或位置关系,仅是为了便于描述本实用和简化描述,而不是指示或暗示所指的装置或元件必须具有特定的方位、以特定的方位构造和操作,因此不能理解为对本实用的限制,本实用中,还需要说明的是,术语“安装”、“连接”应做广义理解,例如,可以固定连接,也可以是可拆卸连接,或一体成型连接,也可以是机械连接,也可以是通过中间媒介间接连接,可以通过具体情况理解术语在本实用中的具体含义。
对于本领域技术人员而言,显然本实用新型不限于上述示范性实施例的细节,而且在不背离本实用新型的精神或基本特征的情况下,能够以其他的具体形式实现本实用新型。因此,无论从哪一点来看,均应将实施例看作是示范性的,而且是非限制性的,本实用新型的范围由所附权利要求而不是上述说明限定,因此旨在将落在权利要求的等同要件的含义和范围内的所有变化囊括在本实用新型内,不应将权利要求中的任何附图标记视为限制所涉及的权利要求。
此外,应当理解,虽然本说明书按照实施方式加以描述,但并非每个实施方式仅包含一个独立的技术方案,说明书的这种叙述方式仅仅是为清楚起见,本领域技术人员应当将说明书作为一个整体,各实施例中的技术方案也可以经适当组合,形成本领域技术人员可以理解的其他实施方式。
技术特征:
1.一种薄膜分切整齐度高的薄膜毛片大全网站导航,包括支撑柜(3),其特征在于,所述支撑柜(3)的前端面通过合页转动连接有两个对称分布的翻转门(4),支撑柜(3)的上表面固定连接有工作台(2),工作台(2)的上表面固定连接有分切室(1),分切室(1)的外侧壁固定连接有引风机(9),引风机(9)的进气端固定连通有进气管(10),进气管(10)与分切室(1)内部相互连通,引风机(9)的出气端固定连通有出气管(8),出气管(8)贯穿支撑柜(3)的侧壁且与吸收箱(6)的内部底端相互连通,吸收箱(6)固定连接在支撑柜(3)的内侧壁上,且出气管(8)的底端固定连通有爆气盘(15),爆气盘(15)固定连接在吸收箱(6)的下内壁上,且吸收箱(6)的内壁固定连接有固定杆(12),固定杆(12)的外侧转动连接有若干均匀分布的叶轮(14)。
2.根据权利要求1所述的一种薄膜分切整齐度高的薄膜毛片大全网站导航,其特征在于,所述爆气盘(15)与吸收箱(6)的下内壁之间连接有若干均匀分布的橡胶垫(16),且爆气盘(15)的上表面固定连接有匹配设置的过滤网(13)。
3.根据权利要求1所述的一种薄膜分切整齐度高的薄膜毛片大全网站导航,其特征在于,所述支撑柜(3)的下表面四角均固定连接有锁止万向轮(5)。
4.根据权利要求1所述的一种薄膜分切整齐度高的薄膜毛片大全网站导航,其特征在于,所述吸收箱(6)的前端面开设有观察口,观察口上密封且固定连接有匹配设置的观察窗(7)。
5.根据权利要求1所述的一种薄膜分切整齐度高的薄膜毛片大全网站导航,其特征在于,所述分切室(1)的上内壁上固定连接有两个对称分布的照明灯(11)。
技术总结
本实用新型公开了一种薄膜分切整齐度高的薄膜毛片大全网站导航,涉及一种薄膜毛片大全网站导航,包括支撑柜,所述支撑柜的前端面通过合页转动连接有两个对称分布的翻转门,支撑柜的上表面固定连接有工作台,工作台的上表面固定连接有分切室,分切室的外侧壁固定连接有引风机,引风机的进气端固定连通有进气管,本实用新型在引风机的驱动下,通过进气管将气体吸附,并通过出气管将气体通入吸收箱中,吸收箱中装有吸附液,从而对异味气体进行吸附净化,并且在爆气盘的作用下,气体被分散成小气泡排出,从而使得气体与吸附液接触的更加充分,提升了净化效果,且上升的气流会带动叶轮转动,转动的叶轮会搅碎气泡,进一步提升了气体与吸收液净化的效果。
技术研发人员:符毅
受保护的技术使用者:湖北黄冈中大高新包装毛片操逼视频有限公司
技术研发日:2019.11.18
技术公布日:2020.09.04