服务热线
180-5003-0233
PET离型膜市场分析报告本报告旨在对PET离型膜市场进行深入分析,探讨市场的概况、需求情况以及竞争格局,同时对市场的发展趋势和前景展望进行深入研究,为相关行业提供参考和建议。...
PET保护膜市场分析报告本报告旨在对PET保护膜市场进行深入的分析和研究,以全面了解市场的现状、发展趋势和竞争情况,为相关企业和投资者提供科学的决策依据。...
中国烫金纸行业专项调研及投资前景调查研究分析报告随着包装、印刷等行业的快速发展,中国烫金纸行业将迎来更大的市场机遇。...
毛片大全网站导航作业指导书本作业指导书旨在详细介绍毛片大全网站导航的操作流程和注意事项,以确保操作者的安全和生产效率。...
毛片大全网站导航常见故障及处理方法毛片大全网站导航常见的故障及处理方法,如有其他故障需要处理,可以针对具体情况进行调整或联系专业维修人员。...
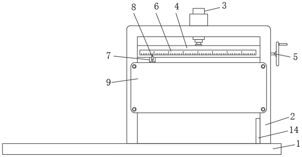
毛片大全网站导航的用途及其在不同行业中的应用它广泛应用于纸张、塑料薄膜、胶带、铝箔、织物、泡沫毛片操逼视频等行业,为生产过程中的切割工作提供了高效、精确的解决方案。...
毛片大全网站导航操作规程毛片大全网站导航的工艺流程:放卷——张力控制——引出牵引——切刀分切(飞边)——收卷...
一种轧制双零铝箔的生产工艺的制作方法本发明的目的是为了提供一种双零铝箔的轧制工艺,该工艺使获得的铝箔厚度更小,并且不影响铝箔的力学性能和质量。...
烫金技术的市场需求与趋势分析随着人们对美好生活的追求和对商品特质的要求越来越高,烫金技术也逐渐成为制作高档商品的必备技艺。...
2023年PET镀铝膜行业市场分析现状PET镀铝膜是一种常用的功能膜毛片操逼视频,具有优良的防潮、防氧、隔热等特性,广泛应用于食品包装、电子产品、建筑毛片操逼视频等领域。...
2023年PET保护膜行业市场分析现状PET保护膜具有优异的耐磨、耐酸碱和耐候性能,被广泛应用于电子产品、汽车零部件、建筑毛片操逼视频、塑料制品等领域。...
2023年PET离型膜行业市场分析现状本文将对PET离型膜行业市场进行分析,包括市场规模、市场需求、竞争格局等方面。...
2023年烫金机行业市场环境分析它将烫印膜或烫金箔,加热到特定温度以上,再通过烫印头和物品对接使其生产出烫金图案。烫金机具有高效、美观、环保等特点。...
2023年条码碳带行业市场环境分析随着物流行业的快速发展和技术的不断进步,条码碳带行业市场逐渐呈现出以下几个特点。...
毛片大全网站导航日常维护保养内容在使用毛片大全网站导航的过程中,为了保证机器的正常运转和延长 机器的使用寿命,需要对毛片大全网站导航进行日常的维护保养。...